Together we build.
siklasicher.
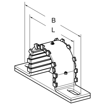
Rohrlager

Bügelschelle RUC I

Einsatz

Führungslager zur Montage auf siFramo Trägerprofilen, Montageschienen 41 und Stahlträgern (H-, I- und Doppel-U) für die Halterung aufliegender Rohrleitungen. Als Alternative zu Rundstahlbügeln eignet sich diese Bügelschelle zur direkten Montage auf der Unterkonstruktion. Die Gleitplatte reduziert die Reibung zwischen Rohr und Unterkonstruktion.
Eine galvanische Trennung zwischen Rohr und Bügelschelle sowie Unterkonstruktion wird durch die Kunststoff-Einlage und Gleitplatte erreicht, so dass z. B. auch VA-Rohre befestigt werden können.

Lieferumfang

Bügelschelle RUC I mit vormontierter Kunststoff-Einlage. Gleitauflage liegt bei.

Montage

Je nach vorhandener Unterkonstruktion ergeben sich folgende Montagearten:

a)
Auf siFramo Trägerprofilen mit Formlockschrauben FLS
b)
Auf Montageschienen 41 mit Schrauben M10 und passender Gewindeplatte
c)
Auf Stahlträgern (H-, I- und Doppel-U) mit Schrauben M10

Technische Daten

Typ
zul. Belastung Fy
[kN]
zul. Belastung Fz
[kN]
22 - 116 0,6 2,3
141 - 325,5 0,2 0,8

Die Ermittlung der zul. Belastung erfolgte durch Belastungsprüfungen in Anlehnung an DIN EN 13480-3 Anhang J.

Bei Montage auf Stahlträgern sowie Montageschienen 41 sind die Tragfähigkeiten dieser Unterkonstruktionen (und Verbindungsmittel) ggf. zu überprüfen.

Material:
Schellenkörper:
Stahl, HCP
Einlage und Gleitplatte:
thermoplastische Kunststoffe
Temperaturbereich:
-20°C bis +90°C (an Einlage und Gleitplatte)

Auch erhältlich mit DUALSHIELD C5H-Oberfläche für hochkorrosive Atmosphären.

TypDNMaterial
[mm]
B
[mm]
L
[mm]
Langloch
[mm]
G
[kg]
Verp.
[Stück]
Artikel-
Nr.
221540 x 41288511 x 200,2125 805068
282040 x 41349111 x 200,2225 805069
352540 x 41419811 x 200,2525 805070
43,53240 x 4149,5106,511 x 200,2725 805071
49,54040 x 4155,5112,511 x 200,2825 805072
625040 x 416812511 x 200,3325 805073
77,56540 x 4183,5140,511 x 200,4025 805074
90,58040 x 4196,5153,511 x 200,4325 805075
11610040 x 422217911 x 200,5225 805076
14112540 x 424720411 x 200,6110 805077
17015040 x 427623311 x 200,7310 805078
22120040 x 432728411 x 200,8810 805079
27525040 x 438133811 x 201,095 805080
325,530040 x 4431,5388,511 x 201,281 805081