Together we build.
siklasicher.
Lüftungs- und Strahlerplattenbefestigung

Lüftungsschelle Stabil D BSK

Einsatz

Stabile Rohrschelle zur Befestigung von Wickelfalzrohren nach DIN 24145 an runden Brandschutzklappen.

Lieferumfang

Mit Schrauben und Muttern bis DN 355, lose beigelegt.

Montage

Bis Typ 361 zentrisch mit M16 Gewindestab BSK, ab Typ 406 beidseitige Befestigung an den Laschen mit Gewindestäben BSK M12.

Technische Daten

Typ

Materialstärke
[mm]
83 - 361
30 x 3,0
406 - 718
40 x 4,0

Material:
Stahl, galvanisch verzinkt
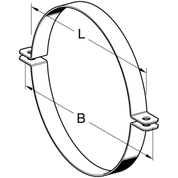
Typ / DNMaterial
[mm]
B
[mm]
L
[mm]
G
[kg]
Verp.
[Stück]
Artikel-
Nr.
83 / 8030 x 3,01651350,5325 413779
104 / 10030 x 3,01851550,5725 413780
129 / 12530 x 3,02101800,6325 413781
154 / 15030 x 3,02352050,6810 413782
164 / 16030 x 3,02452150,7010 413783
204 / 20030 x 3,02852550,7910 413784
254 / 25030 x 3,03353050,9010 413785
306 / 30030 x 3,03903601,031 413786
321 / 31530 x 3,04053751,061 413787
361 / 35530 x 3,04454151,151 413788
        
406 / 40040 x 4,04954602,051 413806
456 / 45040 x 4,05455102,251 413807
566 / 56040 x 4,06556202,681 413808
638 / 63040 x 4,07276922,971 413809
718 / 71040 x 4,08077723,281 413810